Encyclopaedia Index
   
 TITLE:    FLOW IN DRINKING WATER RESERVOIRS
    BY:       D R Glynn, FLOWSOLVE, London.  Tel: +44 181 944 0940
    FOR:      WRc plc, Swindon.
    
DETAILS :
   - Quality of water supply is a prime requirement - can be affected by
       poor flow patterns in reservoirs, e.g. regions of stagnant flow.
   
 - Reservoirs are underground, hence flow cannot be observed directly.
   
 - WRc and Flowsolve carried out a research project to study flows in a
       variety of reservoirs, both by measurement and using PHOENICS.
   
 - Here a few examples are shown to illustrate the capabilities of
       PHOENICS in this area.
 
       continued ...
     
(1)  CIRCULAR RESERVOIR, NO BAFFLES - velocity vectors
   - Diameter 73 m.
   
 - Inlet and outlet at about 2/3 radius.  Inlet submerged and vertically
       upwards.  Outlet on floor.
   
 - Plot shows velocity vectors at surface.
   
 - Flow pattern is dominated by momentum of inlet stream.  Reservoir is
       relatively shallow, so much of surface flow is dominated by water
       recirculating near floor.
   
 - Flow is "well mixed", no stagnant areas.
 
CIRCULAR RESERVOIR, NO BAFFLES - velocity vectors
    
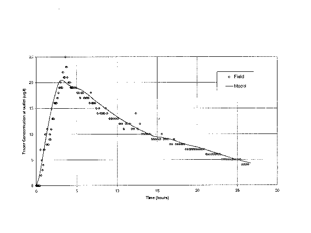
(2)  CIRCULAR RESERVOIR, NO BAFFLES - comparison with measurement
   - Tracer injected into inlet stream for defined period.
   
 - Transient calculation, time step 20 mins.
   
 - Plot shows variation of tracer concentration at outlet over
       26 hour period.
   
 - Agreement with field data is excellent.
 
CIRCULAR RESERVOIR, NO BAFFLES - comparison with measurement
     
(3)  RECTANGULAR RESERVOIR, WITH BAFFLES - tracer concentration
   - Rectangular reservoir 30m x 50m.
   
 - Baffles aimed at achieving "plug flow" and preventing recirculations.
   
 - Transient calculation, time step 20 mins.
   
 - Tracer injected into inlet stream for 3 hours.
   
 - Plot shows tracer concentration after 8 hours.
   
 - Plug flow is clearly not achieved - there are substantial
       recirculations behind each of the baffles.
 
RECTANGULAR RESERVOIR, WITH BAFFLES - tracer concentration
     
(4)  RECTANGULAR RESERVOIR, WITH BAFFLES - chlorine concentration
   - Same case as before, steady flow.
   
 - Chlorine transport and decay modelled.  Inlet concentration
       0.5 mg/l, exponential decay with rate 0.02 per hour.
   
 - Low chlorine concentration behind each baffle points to
       weakness in the design.
 
RECTANGULAR RESERVOIR, WITH BAFFLES - chlorine concentration
       Further details may be found in
       "Simulation of Flow Patterns in Potable Water Reservoirs"
       by D R Glynn, J Creasey and A Oakes,
       presented at IPUC Seville May 1997.
wbs